Простой снегоход за одни выходные
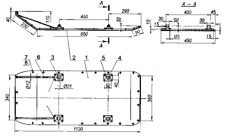
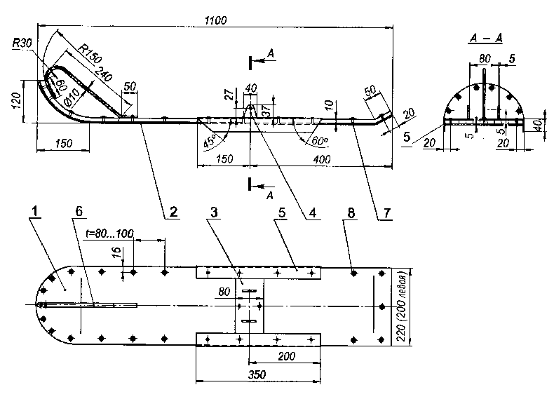
Этак как движок собирался использовать 6-10л/с , а масса снегохода должна быть небольшая, от подлинней гусеницы для снегоходов слету категорично категорически отказался. Собирался сделать сам гусеницу длинной около 4 метров и шириной 50см., но приобрести пригодного размера транспортерную ленту никоим образом никак не смог, пришлось сделать гусеницу короче длинной около 2,7м. ширина гусеницы вышла 47см. Для изготовления гусеницы сделал кондуктор при помощи которого перьевым сверлом делал отверстия в транспортерной ленте.
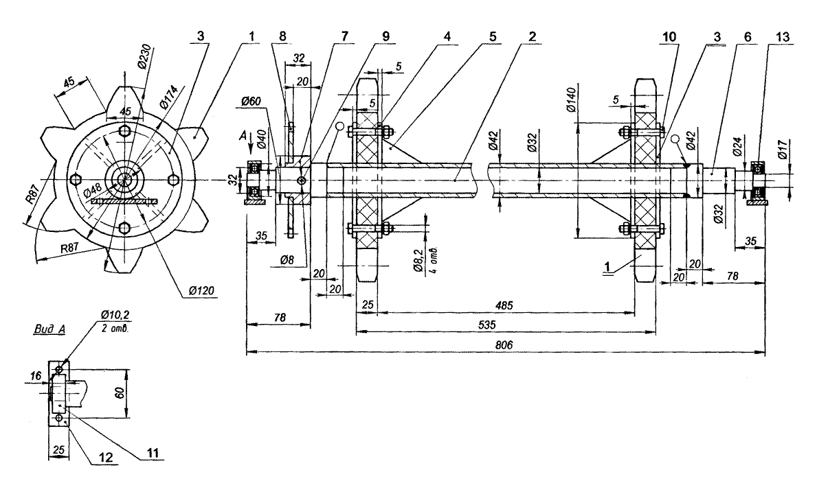
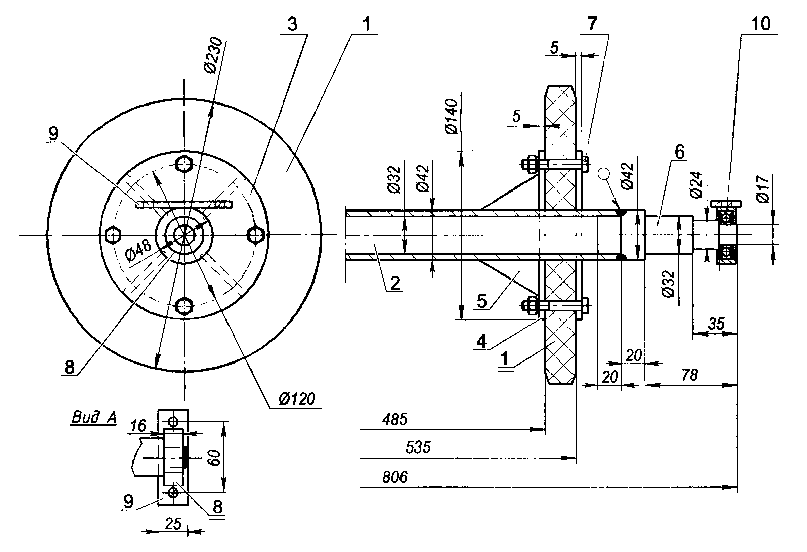
В магазине приобрел четыре колесика от тележки с подшипниками, две мягкие звезды от БУРАНА, и два 205 подшипника для ведущего вала, пластиковую трубу диаметром 40мм. длинной 8метров, все остальное для постройки снегохода у меня нашлось в сарае, квадратная труба 25Х25мм, от старого офисного стола для рамы, обрезки уголков, водопроводные сгоны и муфты.

Сделал чертежи для токаря и через неделю для меня сделали нужные детали. Процесс сборки ясен по фотографиям все очень просто, а принцип работы будущего снегохода примерно такой по твердой поверхности (укатанные дорожки) снегоход двигается на колесах, лыжа, которая находиться внутри гусеницы не касается троков, только своими боками не дает гусеницы сместиться в сторону, тем самым не возникает дополнительной нагрузки и износа траков без смазывания траков снегом, а в рыхлом снегу упор происходит на лыжу.
За первый выходной сделал гусеницу и ведущий вал, закрепил его на раме, так как валы для колес сделать токарь не успел.
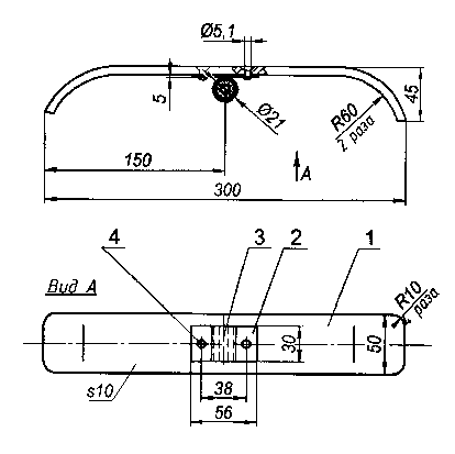
Поворот лыж сделал очень просто, к поперечной балки рамы приварил водопроводные муфты, в них вворачиваются сгоны с креплением для лыж и рулевой тяги. По поему все очень просто и надежно, ни каких втулок и токарных работ только наличие солидола и долгий срок службы обеспечен, а выворачивая и вворачивая сгон можно регулировать высоту стойки лыжи.
Крепление передних колес без регулировки, крепление задних колес сделано подвижно перемещая ось происходит натяжка гусеницы.
Рулевая тяга сплошная и не регулируется (это временный вариант )
Регулировка цепи, смещением двигателя.
СМОТРИТЕ ФОТО (ПРИ НАЖАТИИ НА ФОТО ОНИ УВЕЛИЧИВАЮТСЯ)





Для отправки комментария необходимо войти на сайт.